亚马逊计划在火车和货车上设置移动无人机送货和维修站

广告

当亚马逊宣布使用自动无人机送货的想法时,在一些人看来,这听起来过于雄心勃勃,甚至有些荒谬。然而,公司基本上都交付了甚至设计了一个合适的保护无人机的系统。亚马逊的创意更多水下仓库甚至飞行的仓库。这些想法的实现可能还需要很长一段时间,但亚马逊刚刚提出了另一个古怪的想法,即建造可以在其他星球上运行的移动无人机送货站。

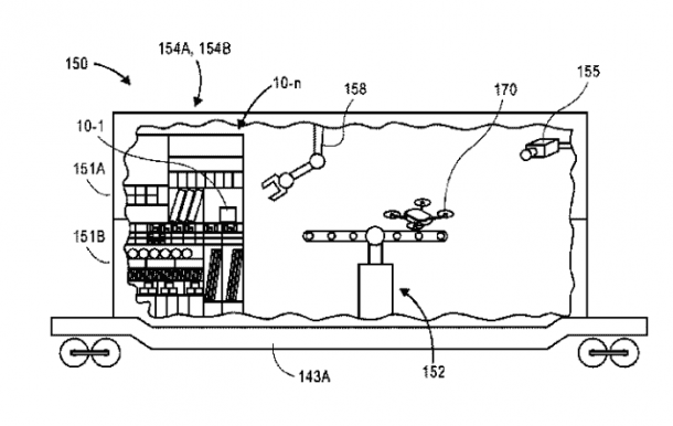
无人机的充电过程需要时间,如果其中任何一个需要在工作站进行维护,这需要大量的非生产性时间。因此,该专利提出了在火车、货车、船只、拖车和其他此类车辆上的移动车站设计。该设计要求一个标准尺寸的集装箱,在天花板上安装一个自动开口,用于发射无人机,并配备检索设备,其中“检索设备包括一个着陆面,配置为沿垂直轴升高或降低,并围绕垂直轴旋转。”

图片来源:美国专利和商标局

该专利由美国专利和商标局最近,上面写着:

多式联运车辆可以装载物品和空中运输工具,并前往已知或预期对物品有需求的地区。多式联运车辆可以与机车、集装箱船、道路牵引车或者其他车辆连接,并配有将一件或者多件物品装载到飞行器上的系统,以及在多式联运车辆运行时发射或回收飞行器的系统。已知或预期需求的地区可以在任何基础上确定,包括但不限于过去向这些地区购买或交货的历史,或计划在这些地区发生的事件。此外,联运车辆可以装载替换部件和/或检查设备,并配置为在联运车辆行驶时,对联运车辆内的空中车辆进行维修、维修作业或检查。

从移动的车辆上发射无人机的想法并不新鲜UPS已经测试过这些无人机送货卡车。然而,亚马逊的专利需要一个更好的想法。

图片来源:美国专利和商标局

几年前,亚马逊就雄心勃勃地要公开无人机送货,但这项技术还不够成熟,无法在没有严重故障的情况下随处部署。爱游戏ayx体育再加上科技公司每年以自己的名义申请数百项专利,但实施的却很少。然而,这些专利确实让我们了解了无人机运输项目所产生的问题,以及这些挑战的潜在解决方案。

该公司此前申请了一项专利可以作为充电站的路灯杆这是他们无人机送货计划的一部分。未来,无人机甚至可能扫描你的房子,然后以广告的形式向你推荐网站上的产品。

你可以在网站上阅读整个专利美国专利和商标局的网站。

广告

留言回复

您的电邮地址将不会公布。