亚马逊计划将路灯和电线杆用作其无人机的充电站

亚马逊计划将路灯和电线杆用作其无人机的充电站
广告

亚马逊几年前首次介绍了其无人机交付服务的概念。该公司最近提交了一项新的专利,详细介绍了其利用教堂尖顶,路灯,电线杆和手机塔等垂直结构的计划,作为交付无人机的对接站。

备案中揭示了在线零售巨头:

“对接站可能会结合许多功能,以使无人机能够飞行更长的路线,更准确地飞行路线,并在不利条件下提供庇护所。”

专利暗示了亚马逊正在考虑实现其无人机交付项目的各种想法。该专利描述了扩展坞将用于以下方式:

  • 通过安装充电/加油站来扩展无人机的范围
  • 包装处理设施或用作最终目的地/送货中心
  • 用作导航辅助

专利申请包括显示用于交付无人机的停靠站的图纸:

亚马逊计划将路灯和电线杆用作其无人机的充电站
图像来源:亚马逊

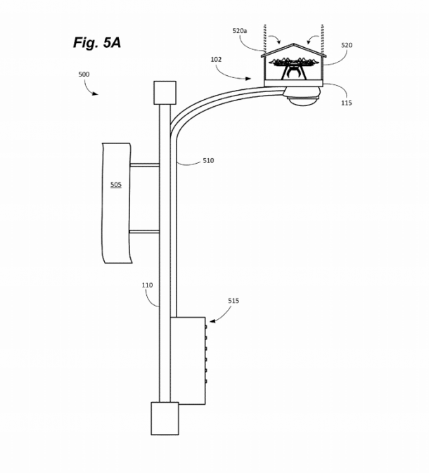
这就是路灯上的对接站的样子。

亚马逊计划将路灯和电线杆用作其无人机的充电站
图像来源:亚马逊

所有对接站将通过中央指挥中心连接。

亚马逊计划将路灯和电线杆用作其无人机的充电站
图像来源:亚马逊

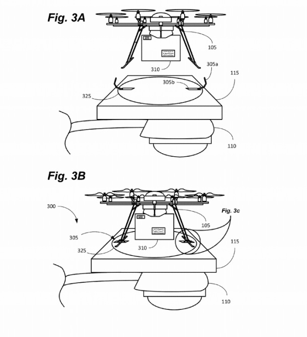
上图显示了停放无人机的固定系统。

亚马逊计划将路灯和电线杆用作其无人机的充电站
图像来源:亚马逊

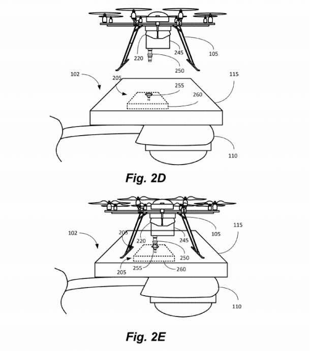
该公司将使用上图中显示的电台加油无人机。

亚马逊计划将路灯和电线杆用作其无人机的充电站
图像来源:亚马逊

如果天气不可预测,该车站也可能变成庇护所。

亚马逊计划将路灯和电线杆用作其无人机的充电站
图像来源:亚马逊

这是手机塔顶上的对接站的样子。

亚马逊计划将路灯和电线杆用作其无人机的充电站
图像来源:亚马逊

无人机还可以通过将包装放入储物柜中,将停靠站用作交付枢纽。

广告

发表评论

您的电子邮件地址不会被公开。