新款微软Surface将自带太阳能电池板

广告

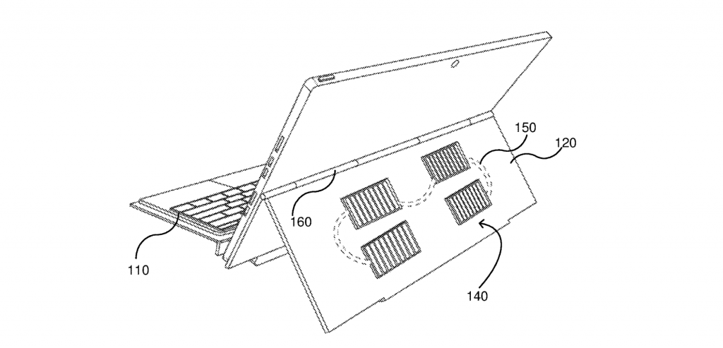
什么东西都可以嵌入到键盘里?一个USB吗?还是想得更远,演讲者们?但微软想得更大!随着节能的热潮,该公司刚刚推出了一项专利,将太阳能面板安装在键盘上,哇!

你可以在标题为“集成太阳能电池板的移动设备盖”的专利中找到详情。所以,微软在能源和电力节约竞赛中处于领先地位!目前还没有任何竞争者想到在设备中加入非常规能源,这种方法已经赢得了许多人的心。该面板应向可拆卸键盘及其所连接的设备提供能量。不用再担心电池的使用,因为你的笔记本电脑很快就会自己解决的。

这项技术爱游戏ayx体育也被称为Surface-Pro,它还有另一个显著的特点。该面板可以在用户忙于工作时充电,这意味着生产率翻倍。你不需要休息和检查你的电池。此外,任何光源都可以放在面板附近充电。不管怎样,这都是双赢的局面。

让我们来看看微软的Surface家族,每一款新机型都为它的祖先增添了创新和优雅。Surface Pro X因其对可持续性的贡献而闻名。Surface Go集笔记本电脑和平板电脑的优点于一身。而且这家人每次上映都会给这部剧带来一些新东西。毫无疑问,在封面上添加键盘符合微软和Surface的整体使命。

Surface Go是一款与iPad家族竞争的便携设备,虽然电池寿命比iPad短很多倍,但它在价格上并不妥协。在这方面,小组意见也应发挥有益的作用。

该提议刚刚申请了专利,目前还没有发布的最终消息。但它的设计、预期的应用和潜在的市场价值,所有这些加在一起都强化了这个案例。不可避免的是,这将对其竞争对手造成不利影响。

在技术人员的头脑中出现了许多问题。那么太阳能电池能续航多久呢?或者架构的支持性如何?它会值很多钱吗?或者只是另一个商业或宣传噱头!

广告

留下一个回复

您的电邮地址将不会公布。