永远不要忘记您用Apple的这款新功能将汽车停在哪里

苹果在没有互联网连接的情况下跟踪您的汽车5
广告

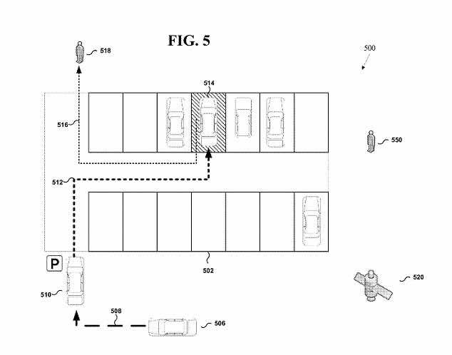
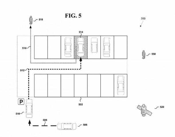
当您找不到汽车时,情况可能很奇怪,如果您是将汽车留在停车场的司机之一,这经常发生。苹果公司提出了一种解决方案,可以永久消除您的恐慌。该解决方案的形式是一个能够告诉用户汽车在哪里的应用程序。苹果在没有互联网连接的情况下跟踪您的汽车

该应用程序的最佳功能是,它不需要互联网连接,即使它在地下公园里丢失了,您也可以找到您的汽车。由于来自库比蒂诺公司的专利申请,该应用程序已成为众人瞩目的焦点。根据美国专利商标办公室的出版,该服务将与Apple Maps集成,可用于准确定位汽车。设备卡车的连接消除了对Internet连接的需求。苹果在没有互联网连接的情况下跟踪您的汽车2 苹果在没有互联网连接的情况下跟踪您的汽车3

根据猜测;将提供的汽车跟踪服务与Google使用的服务不会有很大不同。用户走出车辆后,可以在指向停放汽车的位置的地图上放下销钉。要找到汽车,用​​户需要做的就是加载应用程序并遵循iOS设备上显示的说明。苹果在没有互联网连接的情况下跟踪您的汽车4

没有关于何时将这项服务扩展到用户的消息,但是,这是Apple将作为其“汽车游戏”计划的一部分发布的许多创新之一。一个非常酷的计划,不是吗?

广告

2条评论

发表评论

您的电子邮件地址不会被公开。