美国海军推出可从潜艇发射的无人机

水下攻击-海军无人机
广告

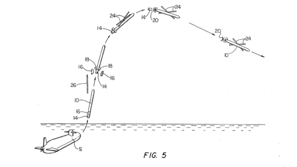
巴基斯坦 起初只有导弹,现在美国海军更进一步,可以在水下潜艇上发射无人驾驶飞机。美国海军研究实验室(NRL)宣布,他们已经成功地从水下潜艇上发射了一架无人机,这可能是朝着发展新的间谍和侦察能力迈出的一大步。全电动实验性燃料电池无人机系统(XFC)在巴哈马群岛从洛杉矶级核动力攻击潜艇普罗维登斯号(SSN 719)上发射,使用的技术与海军部署战斧巡航导弹类似。这种技术允许无人机在不修改船只或不需要它浮出水面的情况下发射。

XFC无人驾驶飞机由NRL在不到6年的时间内从最初的草案发展到目前的原型机。它完全是电动的,由燃料电池供电,可以在头顶停留6个多小时。根据NRL的说法,UAV成本相对较低,飞行高度相对较低,并且专门为军事情报监视和侦察(ISR)任务设计。该飞行器有可折叠的机翼,其设计可以从一辆皮卡或小型水面舰艇上发射。

水下攻击-海军无人机2 在潜艇测试中,工程师们使用了一种名为“海上知更鸟”的发射系统。XFC被放置在“海知更鸟”(Sea Robin)运载火箭内,而该运载火箭又可以安装在标准的垂直战斧导弹发射管内,例如普罗维登斯号(USS Providence)上的那些发射管。在发射时,“海知更鸟”浮到水面上,呈现出类似于桅杆浮标的外观。

水下攻击-海军无人机 “海知更鸟”打开后,利用其电动辅助发射系统将XFC垂直发射出集装箱,一旦达到最低运行速度和高度,就展开翅膀进行水平飞行。XFC继续飞行了几个小时,在降落在巴哈马海军海上系统司令部大西洋海底测试和评估中心之前,将流媒体视频发送回普罗维登斯和支持车辆。

广告

留下回复

你的电邮地址将不会公布。