索尼专利一项新的3 d扫描仪,将真实世界的对象在虚拟现实

广告

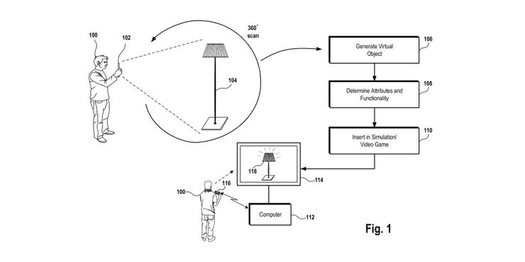
索尼就揭示了PlayStation VR2在CES 2022上,揭示它的一些规范和一些游戏画面来证明其能力。现在,一项新的专利显示3 d扫描仪出现,可能会让玩家将真实世界的对象到视频游戏和虚拟现实环境。

据报告,最初提交专利局专利2021年6月,但索尼必须提交与变化,因为问题与现有专利。

根据专利的描述,即将到来的技术将允许用户扫描真实世界的对象,在虚拟空间将被复制。爱游戏ayx体育然而,索尼已经没有提到其使用的技术。爱游戏ayx体育然而,一些潜在应用包括虚拟现实游戏使用它来呈现真实的物品进入游戏,使用它在不断扩大metaverse创建您的真实财产到虚拟空间,甚至使用它作为一个动画师的工具和游戏开发者让他们的工作更容易。

此外,需要注意的是,专利尚未给索尼,所以我们可能要再等一段时间在看到这项技术之前行动。爱游戏ayx体育

广告

留下一个回复

你的电子邮件地址将不会被发表。