新的iPhone 6屏幕将在刮擦时修复自身

破碎的iP​​hone
广告

我们一直看到苹果以其创新的思想和典范的创新领先。但是,最近看来,苹果从LG那里获得了一些帮助,并提交了一项与LG在其新智能手机中使用的技术非常相似的专利。爱游戏ayx体育这是LG在10月推出的G-FLEX手机中采用的爱游戏ayx体育自我康复技术。

专利

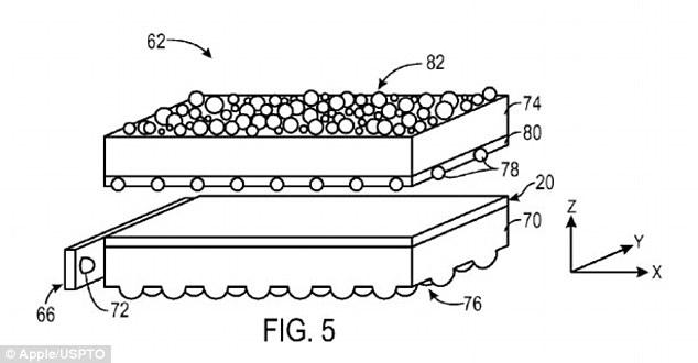
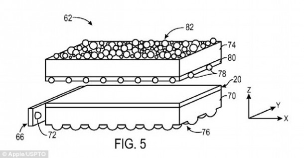
根据Apple提出的专利,该特定涂层可以在设备上的任何地方应用,并且基本上将充满能够流动的特殊材料。当它流入标记和划痕时,它们会消失。该专利昨天由美国专利商标局(USPTO)发布,被称为“防止轻板刮擦的系统和方法”。

GFLEX手机 Natoco的自我修复技术正在将涂层与涂层进行比较。爱游戏ayx体育Natoco的技术爱游戏ayx体育通过两种方式工作,由聚合物合金组成。它起作用的两个原则被称为;“卷曲效应”和“蹦床效应”。您可以谷歌搜索两者都可以学习它们的工作原理,但是简而言之,卷发效果实质上使您的屏幕过于滑动,无法进行任何划痕,而蹦床效果使结构在撞击后恢复到其原始位置。涂层的厚度可能是50纳米仪,根据专利的细节,它将阻止任何异物穿过屏幕到电话电子设备。

苹果不仅具有这种方法来渲染其产品无刮擦。其他方法包括为套管提供直接安装在玻璃上并能够吸收刮擦的凸凹凸。另一种方法类似于Natoco的方法,以使屏幕湿滑。显然,苹果最终决定对其设备如此脆弱做些事情。

苹果手机 关于苹果利用蓝宝石玻璃制作未来的屏幕,并为他们提供了在市场上无与伦比的强度!好吧,当我们等待苹果提出比前任更好的东西时,手指交叉了!

广告

1条评论

发表评论

您的电子邮件地址不会被公开。