我们都知道协和式飞机是世界上唯一一架在几次引人注目的坠机事故和极端噪音污染后停飞的超音速客机。超音速飞机不仅具有难以捉摸的短飞行时间,而且是飞机制造商的先进性和地位的象征。波音和空客都未能制造出协和式飞机的继任者,这一事实凸显了制造这样一架飞机的实际难度,两家公司的幽灵专利也向我们讲述了先发制人的专利战略。因此,空中客车公司设法获得了一项新专利,它可能是一种比协和式飞机本身更快、更灵活的飞机。空客公司的制造部门空客SAS也想制造这款飞机。
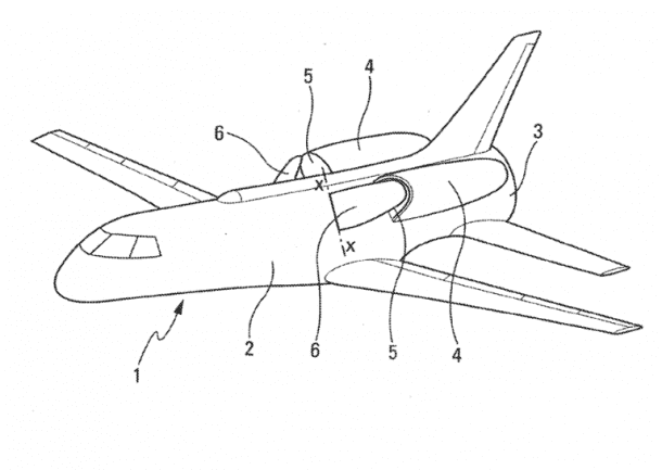
今年7月,空中客车公司成功获得了超音速飞机的专利,该飞机可以在短短一小时内从伦敦飞到纽约。有趣的是,空客在接受最终的设计申请专利之前改变了最初的设计。我们不知道空客为什么要这么做,但可能是因为最初的设计并不适合这家飞机公司,所以他们更注重实用性,而不是用另一项不太可能奏效的高端专利来吸引媒体。这是初始设计:

第二幅是手绘的。通过观察这两个,我们可以看到明显的区别,比如机翼和发动机的位置。在专利文件中提到:

”一种太空飞行器,能够以通常的方式从地面起飞,达到至少100公里的高度,以跨音速甚至超音速飞行,然后以飞机的通常方式降落。”
下面这段来自专利Yogi的视频分析了专利,让我们对未来设计有了更多的了解:
