谷歌展示了一种可以注射到眼球的智能晶状体

谷歌超越索尼的智能镜头,专利智能设备注入眼球
广告

索尼的智能镜头配有自动对焦、变焦和光圈控制的录像机,这一消息还没有平息,谷歌就已经申请了一项新专利,详细介绍了一款最先进的智能镜头,可以直接注射到眼球中。

谷歌超越索尼的智能镜头,专利智能设备注入眼球

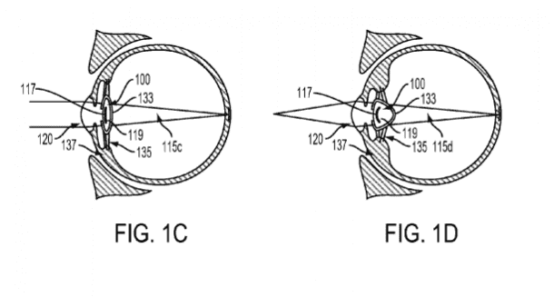
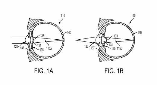
这项专利表明,这种智能设备将取代眼睛内部的自然晶状体。尽管该设备主要是为了矫正视力,但它的作用远不止于此。该套装包括一个镜头,配有存储组件、无线电元件和由电池供电的传感器。

谷歌超越索尼的智能镜头,专利智能设备注入眼球

包中包含的无线电组件特别重要,因为它允许设备与可以增加其处理能力的外部模块通信。可以理解的是,该设备将通过无线方式获取电能。谷歌提到了一种能量收集天线,它可以在没有usb电缆的情况下工作,然而,该天线如何工作的细节还没有透露。

谷歌超越索尼的智能镜头,专利智能设备注入眼球

该设备将通过凝固的溶液注射到眼睛中,从而附着在眼睛的天然晶状体囊上。

谷歌之前的健康科技发明都被列在谷歌母公司Alphabet的生命科学部门Verily名下。T胡斯,这款最新的设备也有望被归入这一范畴。

随着索尼的智能镜头即将上市,据报道三星的智能镜头也在研制中,用不了多久,科技领域就会充斥着智能镜头。查看下面的视频了解更多细节:

广告

留言回复

您的电邮地址将不会公布。