波音公司申请VTOL乘客飞机的专利

波音文件 -  vtol-passenger-plane_image-5
广告

跟随787 Dreamliner的普遍成功,波音公司准备再次彻底改变航空旅行。波音最近获得了直升机 - Aeroplane Hybrid的专利。

波音文件 -  vtol-passenger-plane_image-0
图像来源:波音

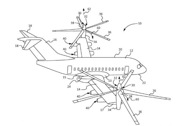
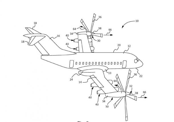
垂直起飞和着陆(VTOL)飞机是一架倾斜飞机,最多可承载100名乘客。常规的直升机功能(如垂直升降机和悬停)已与传统乘客平面提供的范围和速度集成在一起,以创建VTOL。本发明意味着有一天,商业通勤者可以使用小型机场。

波音文件 -  vtol-passenger-plane_image-1
图像来源:波音

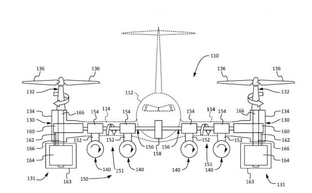
自长时间以来,波音公司就一直在为V-22鱼鹰等诸如V-22 Osprey等工作。但是,新型的倾斜旋转商用飞机不适合平民使用。波音公司开发的先前车型,包括Augustwestland BA609,只能承载9名乘客。

波音文件 -  vtol-passenger-plane_image-5
图像来源:美国海军

这个问题的另一个方面是,军事倾斜转子不适合平民使用。

波音文件 -  vtol-passenger-plane_image-2
图像来源:波音

一看V-22表明,问题的实际来源是,像Osprey这样的飞机具有高翼配置,这意味着飞机必须具有较重的设计,并具有增强功能来支撑发动机,并且可以在任何任何地方保护机身不幸的事件。在此设计中,维护和加油也更加困难。鉴于垂直转子设计,飞机在水上落在水上时甚至无法漂浮。高风力设计还意味着底盘必须安装在机身中。鉴于我们的机场设计的事实是低翅的客机,因此,这些飞机的装载,滑行和卸货也将构成困难。

波音文件 -  vtol-passenger-plane_image-3
图像来源:波音

根据该公司申请的专利,波音公司正计划制造100架客运飞机。波音公司的倾斜驾驶员飞机的机翼朝向机身的底部。因此,由于翅膀的常规放置,VTOL可以放弃特殊的崩溃加固,甚至可以在水上降落时漂浮。飞机可以在机翼坦克中携带燃料,也可以从任何传统机场起飞并降落。VTOL的固定发动机设计还增强了有效载荷能力。

波音文件 -  vtol-passenger-plane_image-4
图像来源:波音

到目前为止,还没有迹象表明波音公司计划将专利设计的任何变体发送给生产。但是,如果要意识到,VTOL可能会成为一架甚至可以从小型机场运营的区域客机。

广告

发表评论

您的电子邮件地址不会被公开。