空客专利一项新的飞机,可以在一小时内从伦敦飞到纽约

空客patent4
广告

空客似乎严重使高速货运和客运飞机成功。上个月看到美国专利局批准一个超高速飞行器空中客车设计用于运输目的。用简单的话说,空客刚刚专利设计的超音速飞机,可能携带乘客在1个小时内横跨大西洋!

新飞机预计将达到4.5马赫的速度,这个速度的基础上,大距离的旅行时间将大大缩短,精确的不到五分之一。它还将缩短的时间由著名的协和式飞机在飞行天三分之一。协和式飞机偶然也是一个项目从空客的前法国宇航公司和航空公司。除了速度,空客认为该飞机将啤酒实施之前限制像Paris-San旧金山和Dubai-New纽约航线。

空客patent5

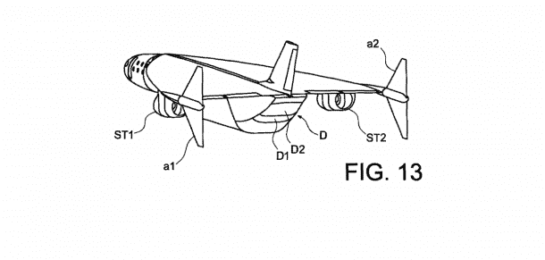
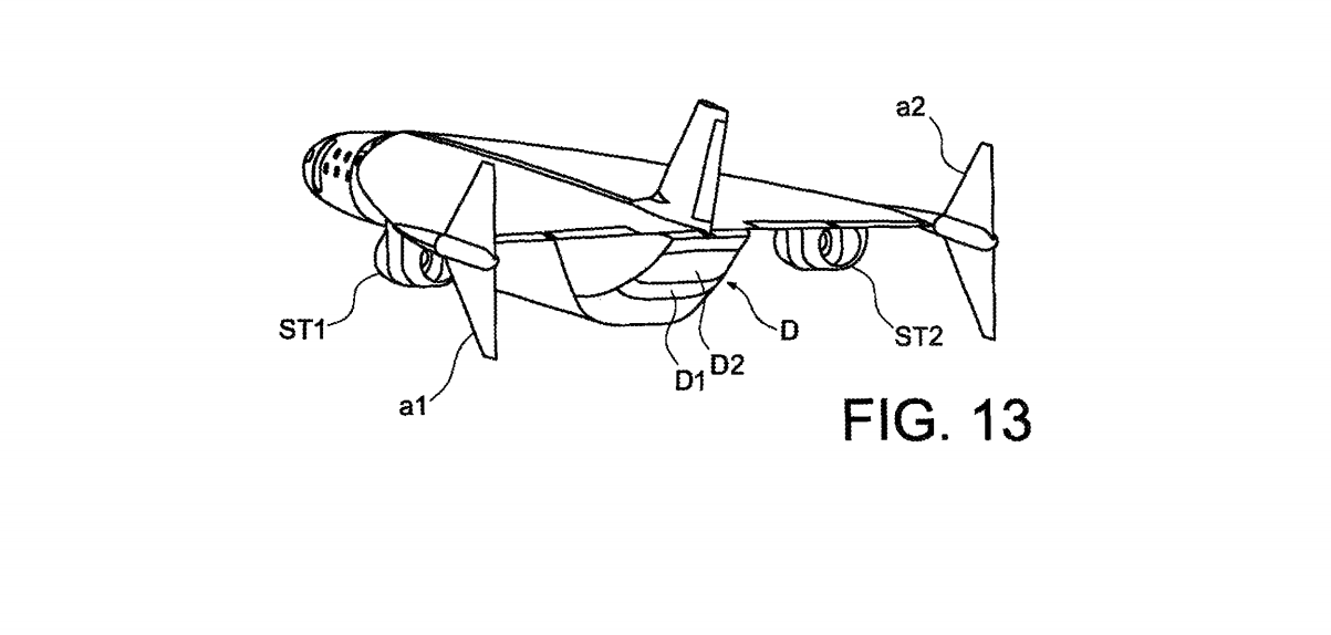
专利描述了飞机作为飞行器有一个“哥特式”三角翼的两侧机身和发动机系统用于推动飞机。也试图解决不同的问题与协和飞机,而不是一个类型的引擎,新的设计将三种发动机动力飞机一起实现疯狂加速到3000英里每小时。为了起飞,使用一组新的空中客车设计的涡轮喷气的肚子下机身以及火箭发动机出席了背后。在飞机到达前1马赫,涡轮喷气收回到下腹部,现在只有火箭发动机功率令人瞠目结舌的100000英尺的高度。大多数战斗机无法达到这一高度,空客需要相当大的努力让它发生。在这个高度,飞机在空中将经历几乎没有交通,但它会棘手而在短时间内下降。

空客patent3 空客大功

在巡航高度,火箭发动机将关闭,进入机身就像涡轮喷气飞机。机翼安装首先会把飞机的最高速度4.5马赫。传统飞机燃料不会被用在这架飞机空客计划氢容器机载飞行的巨大的能源需求。空客还计划清除协和式飞机的飞行相关的问题。新飞机的空气动力学的设计是为了减少音爆的影响及其对结构的影响。协和式飞机的接地是背后的原因有频繁的投诉噪音污染由于其巨大的涡轮喷气发动机。而不是成为一个主要的客机,其余的天携带富人在特殊航班穿越大西洋。

新的超音速飞机,空中客车平民和军事目标市场。飞机可以成为二十个人的私人飞机或成为秘密行动的快速运输的战略利益的国家,甚至被用于侦察目的像sr - 71黑鸟。使用电磁脉冲干扰敌方电子设备变得越来越普遍。轰炸前,这种飞机可以扫上禁用的大部分电子设备地面或重置。

空中客车公司的专利

之后,该地区可以搜查或渗透。尽管我们听说,飞机可能永远无法达到生产似乎太超前。疯狂的高度、速度和可伸缩的引擎将为空客工程师很难转换成现实。为了更好地了解专利的想法,看一看专利数据库

看一看这个视频到一个更好的视觉描述。

广告

留下一个回复

你的电子邮件地址将不会被发表。