网站图标 精彩的工程

苹果公司的数字广告牌和杂志将很快上市

Apple Smart Hybrid Epaper6

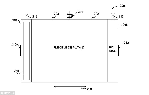
苹果公司获得了灵活的显示屏专利,该屏幕将来可以用来创建数字杂志和广告牌。该专利描述了一个“数字期刊”,该专利也可以加倍,例如商店标志或广告牌。该显示器可以弯曲或倾向以控制,并通过手机网络提供信息。

该专利是最近已向Apple Inces授予许可证的美国31个专利和商标办公室之一。根据该应用程序,“披露了具有灵活显示设备的移动电子设备。基于灵活的显示设备和其他手势,触发了通过无线网络检索信息的请求。“

苹果说:“这可能是一种革命性的新苹果设备,它们称为数字期刊。”

“尽管多媒体信息的可用性无处不在,但仍缺乏愉快的用户体验信息的正确查看,显示和提供信息。”该专利说。‘尤其是查看期刊(例如在线杂志或新闻内容)上的新闻内容,在该期刊中,大型显示器是可取的。此外,拥有复杂的软件和硬件需要在当前的移动设备上接收和显示多媒体定期信息,使其昂贵,沉重和电源密集型。”

苹果还处理系统中的广告牌标志。“在城市环境中,数字固定的广告展示系统在城市环境中很普遍。但是,这些系统的广泛使用并不常见,因为它们需要固定的电源和有线网络连接。”